Главная > Подшипники> Шариковые> Радиально-упорные>B7222-C-T-P4S

B7222-C-T-P4S — Подшипник шариковый однорядный радиально-упорный, импортное производство по ISO стандарту, размер 110x200x38 номер основного исполнения 7222.
Производитель: FAG.
T = Нейлоновая клетка, армированная стекловолокном (радиальные роликовые подшипники). P = Литой сепаратор из стеклонаполненного полиамида 6,6, центрируемый по телам качения.
Цена от:16 880 р.
Цена на подшипник зависит от:
| Обозначение | Модификация |
|---|---|
| 7222 | Основное конструктивное исполнение. |
| B7222 | |
| 7222C | С = Необслуживаемые концы стержней, внутренняя резьба. |
| 7222DF | Комплект подшипников расположенных лицом к лицу, дуплексная Х-образная пара. |
| 7222AC | AC = Угол контакта 25 градусов. |
| 7222DB | D = профиль наружного кольца, усовершенствованный, с увеличенной зоной несущей нагрузки и оптимизированными краевыми переходами. |
| 7222DT | T = Механически обработанный сепаратор из текстолита, центрируемый по телам качения. |
| 7222BG | B = 40 градусов угол контакта. G = Однорядный радиально-упорный шарикоподшипник для универсального парного монтажа. Два подшипника, установленные по 0-образной или Х-образной схеме, будут иметь определенный осевой зазор в домонтажном состоянии. |
| 7222 B | B = однокомпонентное ребристое внутреннее кольцо. |
| 7222 A | A = внутренняя модификация конструкции. |
| 7222BDB | B = 40 градусов угол контакта. DB = два однорядных радиальных шарикоподшипника, однорядные радиально-упорные шарикоподшипники или однорядные конические роликовые подшипники, подходящие для монтажа в расположении друг за другом. |
| 7222BBG | B = 40 градусов угол контакта. G = Однорядный радиально-упорный шарикоподшипник для универсального парного монтажа. Два подшипника, установленные по 0-образной или Х-образной схеме, будут иметь определенный осевой зазор в домонтажном состоянии. |
| 7222BDF | B = 40 градусов угол контакта. DF = Два однорядных радиальных шарикоподшипника, однорядных радиально-упорных шарикоподшипника или однорядных конических роликоподшипника, согласованные для монтажа по Х-образной схеме. |
| 7222BDT | BD = Модифицированная внутренняя конструкция, угол контакта α = 30 градусов, без отверстия для заполнения. |
| 7222BGM | B = 40 градусов угол контакта. G = Однорядный радиально-упорный шарикоподшипник для универсального парного монтажа. Два подшипника, установленные по 0-образной или Х-образной схеме, будут иметь определенный осевой зазор в домонтажном состоянии. |
| 7222CDF | Комплект подшипников расположенных лицом к лицу, дуплексная Х-образная пара. |
| 7222CPA | С = Необслуживаемые концы стержней, внутренняя резьба. |
| 7222 ADB | A = Модифицированная внутренняя конструкция. DB = два однорядных радиальных шарикоподшипника, однорядные радиально-упорные шарикоподшипники или однорядные конические роликовые подшипники, подходящие для монтажа в расположении друг к другу. |
| 7222 CDB | С = Необслуживаемые концы стержней, внутренняя резьба. |
| 7222 BEP | Радиально-упорный шарикоподшипник с угол контакта - 40. Оптимизированная внутренняя конструкция. Сепаратор армирован стекловолокном с шаровым центром. |
| 7222 ADT | T = Механически обработанный сепаратор из текстолита, центрируемый по телам качения. |
| 7222 ADF | Комплект подшипников расположенных лицом к лицу, дуплексная Х-образная пара. |
| 7222BDFT | B = 40 градусов угол контакта. DF = Два однорядных радиальных шарикоподшипника, однорядных радиально-упорных шарикоподшипника или однорядных конических роликоподшипника, согласованные для монтажа по Х-образной схеме. |
| 7222 CDT | С = Необслуживаемые концы стержней, внутренняя резьба. |
| 7222CTRSU | С = Необслуживаемые концы стержней, внутренняя резьба. |
| 7222 B-UD | D = профиль наружного кольца, усовершенствованный, с увеличенной зоной несущей нагрузки и оптимизированными краевыми переходами. |
| 7222 B.JP | B = однокомпонентное ребристое внутреннее кольцо. |
| 7222 C-UO | С = Необслуживаемые концы стержней, внутренняя резьба. |
| 7222 B.MP | B = 40 градусов угол контакта. M = обработанный латунный сепаратор, расположенныйна элементах качения. |
| 7222 A-UO | A = внутренняя модификация конструкции. |
| 7222 B-UX | X = Внешние размеры, соответствующие международным стандартам. |
| 7222 A-UX | A = внутренняя модификация конструкции. |
| 7222 B-UO | B = однокомпонентное ребристое внутреннее кольцо. |
| 7222 C-UD | С = Необслуживаемые концы стержней, внутренняя резьба. |
| 7222 A-UD | A = внутренняя модификация конструкции. |
| 7222 C-UX | С = Необслуживаемые концы стержней, внутренняя резьба. |
| 7222 BECBY | ЕС = эксцентриковый фиксатор воротника с утопленным внутренним кольцом на одной стороне. |
| 7222WN MBR | MB = Обработанный латунный сепаратор с внутренним кольцом. |
| 7222A5TRSU | Угол контакта 25 градусов. |
| 7222 BEGAF | A = внутренняя модификация конструкции. |
| 7222 BECBM | B = 40 градусов угол контакта. M = обработанный латунный сепаратор, расположенныйна элементах качения. |
| 7222 B.TVP | TVP = сегментный сепаратор, изготовленный из армированного стекловолокном полиамида PA66 направленная по роликам. |
| 7222 BECCM | Радиальный сферический роликоподшипник исполнения С с улучшенным ведением роликов и, благодаря этому, сниженным потерям на трение. |
| 7222 ATBP4 | ТВ = текстолитовый сепаратор, центрируемый по внутреннему кольцу. |
| 7222 CTBP4 | ТВ = текстолитовый сепаратор, центрируемый по внутреннему кольцу. |
| 7222-BE-MP | Радиально-упорный шарикоподшипник с углом контакта 40. Оптимизированная внутренняя конструкция. Обработанный латунный сепаратор центрируемый по шарику. |
| 7222 BECBP | ЕС = эксцентриковый фиксатор воротника с утопленным внутренним кольцом на одной стороне. |
| 7222 CD/P4A | CD = 15 градусов угол контакта. P4 = Точность размеров и вращения соответствуют классу точности 4 ISO. |
| 7222HG1UJ74 | J = Сепаратор стальной штампованный незакалённый. Сорт стали 7. |
| 7222CG1UJ74 | J = Сепаратор стальной штампованный незакалённый. Сорт стали 7. |
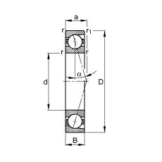
Габаритные размеры
Размеры и геометрические характеристики
Нагрузка и ресурс
Отклонение, точность вращения
Присоединительные размеры
Прочие характеристики
Однорядный цилиндрический роликовый подшипник NJ222 (CRAFT, FAG, ISB, ISO, KOYO)
Однорядный цилиндрический роликовый подшипник NU222 (CRAFT, FAG, ISB, ISO, KOYO)
Подшипник роликовый сферический 20222 (FAG, ISO)
Подшипник шариковый двухрядный самоустанавливающийся 1222 (AST, CX, FAG, ISB, ISO)
Подшипник шариковый радиальный сферический двухрядный с коническим отверстием внутреннего кольца 111222 (ГПЗ-1)
Однорядный цилиндрический роликовый подшипник N222 E.TVP2 (FAG)