Главная > Подшипники> Роликовые > Радиально-упорные>NP825236/NP443198

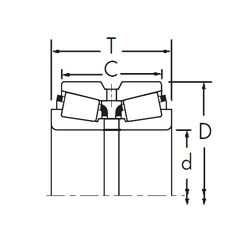
NP825236/NP443198 — Конический роликоподшипник, импортное производство по ISO стандарту, размер 200x300x65 номер основного исполнения .
Производитель: TIMKEN.
N = Канавка под стопорное кольцо в наружном кольце. P = Литой сепаратор из стеклонаполненного полиамида 6,6, центрируемый по телам качения.
Цена по запросу
Цена на подшипник зависит от:
Габаритные размеры
Размеры и геометрические характеристики
Защита
Конструкция и исполнение
Конический роликоподшипник 4T-JHM840449/JHM840410 (NTN)
Подшипник роликовый радиально-упорный JHM840449/10 (CX, ISO)
Однорядный конический роликовый подшипник JHM840449/JHM840410 (KOYO, NIS, NSK, TIMKEN)