Главная > Подшипники> Роликовые > Радиально-упорные>JHM840449/10

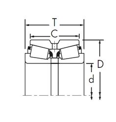
JHM840449/10 — Подшипник роликовый радиально-упорный, импортное производство по ISO стандарту, размер 200x300x65 номер основного исполнения .
Производится брендами: CX, ISO.
Цена от:28 633 р.
Цена на подшипник зависит от:
Габаритные размеры
Размеры и геометрические характеристики
Нагрузка и ресурс
Защита
Присоединительные размеры
Конструкция и исполнение
Конический роликоподшипник 4T-JHM840449/JHM840410 (NTN)
Однорядный конический роликовый подшипник JHM840449/JHM840410 (KOYO, NIS, NSK, TIMKEN)
Конический роликоподшипник NP825236/NP443198 (TIMKEN)