Главная > Подшипники> Роликовые > Радиально-упорные>M88043/010/2/QCL7C

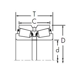
M88043/010/2/QCL7C — Конический роликоподшипник, импортное производство по ISO стандарту, размер 30x68x22 номер основного исполнения .
Производитель: SKF.
С = Необслуживаемые концы стержней, внутренняя резьба.
Цена по запросу
Цена на подшипник зависит от:
Габаритные размеры
Размеры и геометрические характеристики
Нагрузка и ресурс
Защита
Коэффициенты для расчета
Присоединительные размеры
Конструкция и исполнение
Однорядный конический роликовый подшипник 4T-M88043/M88010 (NTN)
Однорядный конический роликовый подшипник BT1B332674A/QCL7C (SKF)
Конический роликоподшипник ET-CR-06A36SATPX1 (NTN)
Конический роликоподшипник ET-CR-06A36SATPX1-G (NTN)
Однорядный конический роликовый подшипник F15079 (Fersa)
Подшипник роликовый радиально-упорный HC STA3068LFT (KOYO)