Главная > Подшипники> Роликовые > Радиально-упорные>ET-CR-06A36SATPX1-G

ET-CR-06A36SATPX1-G — Конический роликоподшипник, импортное производство по ISO стандарту, размер 30x68x22 номер основного исполнения .
Производитель: NTN.
T = Нейлоновая клетка, армированная стекловолокном (радиальные роликовые подшипники). P = Литой сепаратор из стеклонаполненного полиамида 6,6, центрируемый по телам качения.
Цена по запросу
Цена на подшипник зависит от:
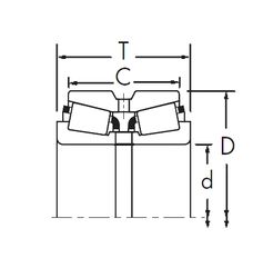
Габаритные размеры
Размеры и геометрические характеристики
Защита
Конструкция и исполнение
Однорядный конический роликовый подшипник 4T-M88043/M88010 (NTN)
Однорядный конический роликовый подшипник BT1B332674A/QCL7C (SKF)
Конический роликоподшипник ET-CR-06A36SATPX1 (NTN)
Однорядный конический роликовый подшипник F15079 (Fersa)
Подшипник роликовый радиально-упорный HC STA3068LFT (KOYO)
Однорядный конический роликовый подшипник M88043/M88010 (Fersa, KBC, KOYO, NIS, NSK)