Главная > Подшипники> Роликовые > Радиально-упорные>JF4049/10

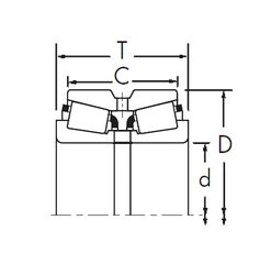
JF4049/10 — Подшипник роликовый радиально-упорный, импортное производство по ISO стандарту, размер 40x85x33 номер основного исполнения .
Производится брендами: CX, ISO.
Цена от:2 603 р.
Цена на подшипник зависит от:
Габаритные размеры
Размеры и геометрические характеристики
Нагрузка и ресурс
Защита
Присоединительные размеры
Конструкция и исполнение
Подшипник шариковый радиальный 380808 АУ (ГПЗ-23)
Конический роликоподшипник 4T-T2EE040 (NTN)
Однорядный конический роликовый подшипник JF4049/JF4010 (Fersa, TIMKEN)
Однорядный конический роликовый подшипник T2EE040 (CX, FAG, ISO, KOYO, NKE)
Однорядный конический роликовый подшипник T2EE040/QVB134 (SKF)