Главная > Подшипники> Роликовые > Радиально-упорные>NP938901/NP611161

NP938901/NP611161 — Однорядный конический роликовый подшипник, импортное производство по ISO стандарту, размер 45x74x18 номер основного исполнения .
Производитель: TIMKEN.
N = Канавка под стопорное кольцо в наружном кольце. P = Литой сепаратор из стеклонаполненного полиамида 6,6, центрируемый по телам качения.
Цена по запросу
Цена на подшипник зависит от:
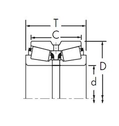
Габаритные размеры
Размеры и геометрические характеристики
Защита
Конструкция и исполнение
Радиально-упорный шарикоподшипник SF0914 (NTN)
Конический роликоподшипник 4T-LM503349A/LM503310 (NTN)
Однорядный конический роликовый подшипник 528942 (FAG)
Конический роликоподшипник BT1-0383/Q (SKF)
Однорядный конический роликовый подшипник KLM503349A-LM503310 (FAG)
Однорядный конический роликовый подшипник KLM503349-LM503310 (FAG)