Главная > Подшипники> Роликовые > Радиально-упорные>NP889967/NP178207

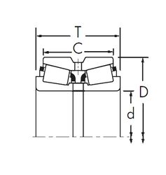
NP889967/NP178207 — Конический роликоподшипник, импортное производство по ISO стандарту, размер 41x73x19 номер основного исполнения .
Производитель: TIMKEN.
N = Канавка под стопорное кольцо в наружном кольце. P = Литой сепаратор из стеклонаполненного полиамида 6,6, центрируемый по телам качения.
Цена по запросу
Цена на подшипник зависит от:
Габаритные размеры
Размеры и геометрические характеристики
Защита
Конструкция и исполнение
Конический роликоподшипник 4T-LM501349A/LM501310 (NTN)
Однорядный конический роликовый подшипник 4T-LM501349/LM501310 (NTN)
Конический роликоподшипник BT1-0384/Q (SKF)
Конический роликоподшипник H-LM501349/H-LM501310 (NACHI)
Однорядный конический роликовый подшипник KLM501349-LM501310 (FAG)
Однорядный конический роликовый подшипник LM501349/10 (CX, ISO, PFI)