Главная > Подшипники> Роликовые > Радиально-упорные>NP855754/NP706096

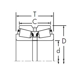
NP855754/NP706096 — Конический роликоподшипник, импортное производство по ISO стандарту, размер 53x88x19 номер основного исполнения .
Производитель: TIMKEN.
N = Канавка под стопорное кольцо в наружном кольце. P = Литой сепаратор из стеклонаполненного полиамида 6,6, центрируемый по телам качения.
Цена от:7 489 р.
Цена на подшипник зависит от:
Габаритные размеры
Размеры и геометрические характеристики
Защита
Конструкция и исполнение
Однорядный конический роликовый подшипник 4T-LM806649/LM806610 (NTN)
Однорядный конический роликовый подшипник KLM806649-LM806610 (FAG)
Однорядный конический роликовый подшипник LM806649/LM806610 (FBJ, Fersa, KOYO, TIMKEN)
Подшипник роликовый радиально-упорный LM806649/610 (ISB)
Подшипник роликовый радиально-упорный LM805549/10 (CX, ISO)
Однорядный конический роликовый подшипник LM806649/610/Q (SKF)