Главная > Подшипники> Роликовые > Радиально-упорные>NP784953/NP396414

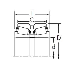
NP784953/NP396414 — Конический роликоподшипник, импортное производство по ISO стандарту, размер 41x88x30 номер основного исполнения .
Производитель: TIMKEN.
N = Канавка под стопорное кольцо в наружном кольце. P = Литой сепаратор из стеклонаполненного полиамида 6,6, центрируемый по телам качения.
Цена по запросу
Цена на подшипник зависит от:
Габаритные размеры
Размеры и геометрические характеристики
Защита
Конструкция и исполнение
Конический роликоподшипник 4T-HM803145/HM803110 (NTN)
Конический роликоподшипник 4T-HM803146/HM803110 (NTN)
Однорядный конический роликовый подшипник HM803145/HM803110 (FBJ, Fersa, KOYO, NIS, NSK)
Подшипник роликовый радиально-упорный HM803146/11 (CX, ISO)
Однорядный конический роликовый подшипник HM803146/HM803110 (AST, FBJ, Fersa, KOYO, NIS)
Однорядный конический роликовый подшипник HM803146/10 (CX, ISO)