Главная > Подшипники> Роликовые > Радиально-упорные>NP537150/NP050487

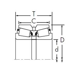
NP537150/NP050487 — Однорядный конический роликовый подшипник, импортное производство по ISO стандарту, размер 41x73x21 номер основного исполнения .
Производитель: TIMKEN.
N = Канавка под стопорное кольцо в наружном кольце. P = Литой сепаратор из стеклонаполненного полиамида 6,6, центрируемый по телам качения.
Цена от:2 515 р.
Цена на подшипник зависит от:
Габаритные размеры
Размеры и геометрические характеристики
Защита
Конструкция и исполнение
Конический роликоподшипник 4T-LM501349/LM501314 (NTN)
Однорядный конический роликовый подшипник EC42217S01H206 (SNR)
Конический роликоподшипник EC42217S02H206 (SNR)
Конический роликоподшипник H-LM501349/H-LM501314 (NACHI)
Однорядный конический роликовый подшипник KLM501349-LM501314 (FAG)
Подшипник роликовый радиально-упорный LM501349/14 (CX, ISO, PFI)