Главная > Подшипники> Роликовые > Радиально-упорные>NP508367/NP873173

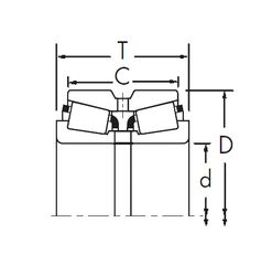
NP508367/NP873173 — Конический роликоподшипник, импортное производство по ISO стандарту, размер 40x68x22 номер основного исполнения .
Производитель: TIMKEN.
N = Канавка под стопорное кольцо в наружном кольце. P = Литой сепаратор из стеклонаполненного полиамида 6,6, центрируемый по телам качения.
Цена по запросу
Цена на подшипник зависит от:
Габаритные размеры
Размеры и геометрические характеристики
Защита
Конструкция и исполнение
Подшипник роликовый радиально-упорный 33008JR (KOYO)
Подшипник роликовый радиально-упорный 33008 (CYSD, ISO, NIS, NTN)
Подшипник роликовый радиально-упорный 33008 A (CX)
Подшипник роликовый радиально-упорный 33008F (Fersa)
Конический роликоподшипник 40KB681A1 (NACHI)
Конический роликоподшипник 4T-33008 (NTN)