Главная > Подшипники> Роликовые > Радиально-упорные>M252330/10

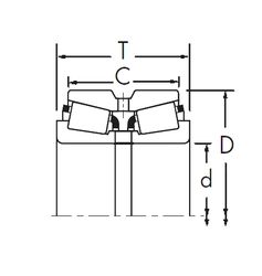
M252330/10 — Подшипник роликовый радиально-упорный, импортное производство по ISO стандарту, размер 234x381x74 номер основного исполнения .
Производится брендами: CX, ISO.
Цена по запросу
Цена на подшипник зависит от:
Габаритные размеры
Размеры и геометрические характеристики
Нагрузка и ресурс
Защита
Присоединительные размеры
Конструкция и исполнение
Подшипник роликовый радиально-упорный M252330/M252310 (KOYO, TIMKEN)
Конический роликоподшипник T-M252330/M252310 (NTN)