Главная > Подшипники> Роликовые > Радиально-упорные>M249734/10

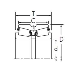
M249734/10 — Подшипник роликовый радиально-упорный, импортное производство по ISO стандарту, размер 231x358x71 номер основного исполнения .
Производится брендами: CX, ISO.
Цена по запросу
Цена на подшипник зависит от:
Габаритные размеры
Размеры и геометрические характеристики
Нагрузка и ресурс
Защита
Присоединительные размеры
Конструкция и исполнение
Подшипник роликовый радиально-упорный M249734/M249710 (KOYO)
Конический роликоподшипник T-M249734/M249710 (NTN)