Главная > Подшипники> Роликовые > Радиально-упорные>M201047/11

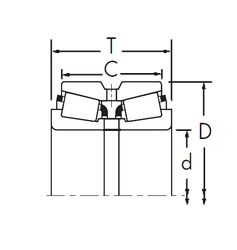
M201047/11 — Подшипник роликовый радиально-упорный, импортное производство по ISO стандарту, размер 39x73x25 номер основного исполнения .
Производится брендами: ISB, PFI.
Цена от:1 604 р.
Цена на подшипник зависит от:
Габаритные размеры
Размеры и геометрические характеристики
Нагрузка и ресурс
Защита
Конструкция и исполнение
Конический роликоподшипник 4T-M201047/M201011 (NTN)
Однорядный конический роликовый подшипник M201047/M201011 (NACHI, NIS, NSK, TIMKEN)