Главная > Подшипники> Роликовые > Радиально-упорные>M12648/10

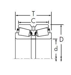
M12648/10 — Подшипник роликовый радиально-упорный, импортное производство по ISO стандарту, размер 22x50x17 номер основного исполнения .
Производится брендами: CX, ISO.
Цена от:305 р.
Цена на подшипник зависит от:
Габаритные размеры
Размеры и геометрические характеристики
Нагрузка и ресурс
Защита
Присоединительные размеры
Конструкция и исполнение
Игольчатый роликоподшипник HKZ22X50.4X17 (NTN)
Конический роликоподшипник 4T-M12648/M12610 (NTN)
Конический роликоподшипник A-ET-CR-0492STPXI (NTN)
Конический роликоподшипник EC35399 (NTN)
Однорядный конический роликовый подшипник M12648/M12610 (AST, FBJ, KOYO, NACHI, NIS)
Подшипник роликовый радиально-упорный M12648A/M12610 (KOYO, TIMKEN)