Главная > Подшипники> Роликовые > Радиально-упорные>LM241149/10

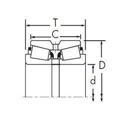
LM241149/10 — Подшипник роликовый радиально-упорный, импортное производство по ISO стандарту, размер 203x276x42 номер основного исполнения .
Производится брендами: CX, ISO.
Цена от:35 140 р.
Цена на подшипник зависит от:
Габаритные размеры
Размеры и геометрические характеристики
Нагрузка и ресурс
Защита
Присоединительные размеры
Конструкция и исполнение
Однорядный конический роликовый подшипник LM241149/LM241110 (KOYO, NSK, NTN, TIMKEN)
Подшипник роликовый радиально-упорный LM241148/LM241111 (KOYO)