Главная > Подшипники> Роликовые > Радиально-упорные>JP18049/10

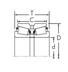
JP18049/10 — Подшипник роликовый радиально-упорный, импортное производство по ISO стандарту, размер 180x240x32 номер основного исполнения .
Производится брендами: CX, ISO.
Цена от:26 030 р.
Цена на подшипник зависит от:
Габаритные размеры
Размеры и геометрические характеристики
Нагрузка и ресурс
Защита
Присоединительные размеры
Конструкция и исполнение
Конический роликоподшипник JP18049/JP18010 (TIMKEN)
Конический роликоподшипник T4DB180 (SKF)