Главная > Подшипники> Роликовые > Радиально-упорные>JLM704649/10

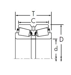
JLM704649/10 — Подшипник роликовый радиально-упорный, импортное производство по ISO стандарту, размер 50x84x22 номер основного исполнения .
Производится брендами: CX, ISO.
Цена от:1 084 р.
Цена на подшипник зависит от:
Габаритные размеры
Размеры и геометрические характеристики
Нагрузка и ресурс
Защита
Присоединительные размеры
Конструкция и исполнение
Подшипник шариковый упорный однонаправленный B25 (INA)
Конический роликоподшипник 4T-JLM704649/JLM704610 (NTN)
Однорядный конический роликовый подшипник JLM704649/JLM704610 (Fersa, TIMKEN)
Подшипник роликовый радиально-упорный JLM104949/JLM704910 (FBJ)