Главная > Подшипники> Роликовые > Радиально-упорные>JF7049/10

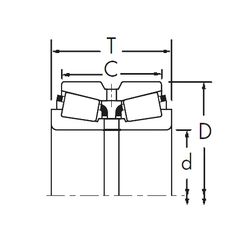
JF7049/10 — Подшипник роликовый радиально-упорный, импортное производство по ISO стандарту, размер 70x130x43 номер основного исполнения .
Производится брендами: CX, ISO.
Цена от:2 819 р.
Цена на подшипник зависит от:
Габаритные размеры
Размеры и геометрические характеристики
Нагрузка и ресурс
Защита
Присоединительные размеры
Конструкция и исполнение
Однорядный конический роликовый подшипник JF7049A/JF7010 (Fersa, TIMKEN)
Подшипник роликовый радиально-упорный JF7049A/10 (CX, ISO)
Однорядный конический роликовый подшипник JF7049/JF7010 (Fersa, TIMKEN)
Однорядный конический роликовый подшипник T2ED070 (CX, ISO, KOYO, NKE)
Конический роликоподшипник T2ED070/QCLNVB061 (SKF)
Однорядный конический роликовый подшипник 538971 (FAG)