Главная > Подшипники> Роликовые > Радиально-упорные>JF5049/JF5010

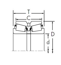
JF5049/JF5010 — Подшипник роликовый радиально-упорный, импортное производство по ISO стандарту, размер 50x100x36 номер основного исполнения .
Производитель: Fersa.
Механически обработанный сепаратор из стали или чугуна, центрируемый по телам качения.
Цена по запросу
Цена на подшипник зависит от:
Габаритные размеры
Размеры и геометрические характеристики
Защита
Конструкция и исполнение
Конический роликоподшипник 4T-T2ED050 (NTN)
Однорядный конический роликовый подшипник T2ED050 (CX, FAG, ISO, KOYO, NKE)
Однорядный конический роликовый подшипник T2ED050/Q (SKF)