Главная > Подшипники> Роликовые > Радиально-упорные>H913840/10

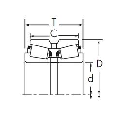
H913840/10 — Подшипник роликовый радиально-упорный, импортное производство по ISO стандарту, размер 59x146x41 номер основного исполнения .
Производится брендами: CX, ISO.
Цена по запросу
Цена на подшипник зависит от:
Габаритные размеры
Размеры и геометрические характеристики
Нагрузка и ресурс
Защита
Присоединительные размеры
Конструкция и исполнение
Конический роликоподшипник 4T-H913840/H913810 (NTN)
Однорядный конический роликовый подшипник H913840/H913810 (FBJ, TIMKEN)