Главная > Подшипники> Шариковые> Радиально-упорные>B71944-C-T-P4S

B71944-C-T-P4S — Подшипник шпиндельный, импортное производство по ISO стандарту, размер 220x300x38 номер основного исполнения 71944.
Производитель: FAG.
T = Нейлоновая клетка, армированная стекловолокном (радиальные роликовые подшипники). P = Литой сепаратор из стеклонаполненного полиамида 6,6, центрируемый по телам качения.
Цена от:200 425 р.
Цена на подшипник зависит от:
| Обозначение | Модификация |
|---|---|
| 71944 | Основное конструктивное исполнение. |
| 71944C | С = Необслуживаемые концы стержней, внутренняя резьба. |
| H71944C | С = Необслуживаемые концы стержней, внутренняя резьба. |
| 71944AC | AC = Угол контакта 25 градусов. |
| 71944 A | A = внутренняя модификация конструкции. |
| H71944AC | AC = Угол контакта 25 градусов. |
| H71944C/HQ1 | С = Необслуживаемые концы стержней, внутренняя резьба. |
| 71944 ATBP4 | ТВ = текстолитовый сепаратор, центрируемый по внутреннему кольцу. |
| 71944CVUJ74 | J = Сепаратор стальной штампованный незакалённый. Сорт стали 7. |
| 71944 CTBP4 | ТВ = текстолитовый сепаратор, центрируемый по внутреннему кольцу. |
| 71944HVUJ74 | J = Сепаратор стальной штампованный незакалённый. Сорт стали 7. |
| H71944AC/HQ1 | AC = Угол контакта 25 градусов. |
| 71944CVDUJ74 | DU = (RS1-SKF) = Уплотнительное контактное уплотнение из акрилонитрил-бутадиеновой резины (NBR) из листовой стали на одной стороне подшипника. |
| 71944 CD/P4A | CD = 15 градусов угол контакта. P4 = Точность размеров и вращения соответствуют классу точности 4 ISO. |
| 71944HVDUJ74 | DU = (RS1-SKF) = Уплотнительное контактное уплотнение из акрилонитрил-бутадиеновой резины (NBR) из листовой стали на одной стороне подшипника. |
| 71944 ACD/P4A | ACD = Угол контакта 25 градусов. P4 = Точность конструкции P4, точность хода P4. |
| 71944 CD/P4AL | CD = 15 градусов угол контакта. P4 = Точность размеров и вращения соответствуют классу точности 4 ISO. |
| 71944 ACD/P4AL | ACD = Угол контакта 25 градусов. P4 = Точность конструкции P4, точность хода P4. |
| B71944-E-T-P4S | E = (AC-SKF) = 25 градусов угол контакта. T = (сегмент TB-Cage) = текстильная слоистая Фенольный смола, направленная по наружному кольцу. сепаратор подходит для длительной эксплуатации при температуре до 100 градусов C. P = Литой сепаратор из стеклонаполненного полиамида 6,6, центрируемый по телам качения. |
| 71944 CD/HCP4A | P4 = Точность размеров и вращения соответствуют классу точности 4 ISO. |
| 71944 CD/HCP4AL | P4 = Точность размеров и вращения соответствуют классу точности 4 ISO. |
| 71944 ACD/HCP4A | ACD = Угол контакта 25 градусов. |
| 71944 ACD/HCP4AL | ACD = Угол контакта 25 градусов. |
| HCB71944-C-T-P4S | T = Нейлоновая клетка, армированная стекловолокном (радиальные роликовые подшипники). P = Литой сепаратор из стеклонаполненного полиамида 6,6, центрируемый по телам качения. |
| HCB71944-E-T-P4S | E = (AC-SKF) = 25 градусов угол контакта. T = (сегмент TB-Cage) = текстильная слоистая Фенольный смола, направленная по наружному кольцу. сепаратор подходит для длительной эксплуатации при температуре до 100 градусов C. P = Литой сепаратор из стеклонаполненного полиамида 6,6, центрируемый по телам качения. |
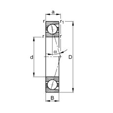
Габаритные размеры
Размеры и геометрические характеристики
Нагрузка и ресурс
Отклонение, точность вращения
Присоединительные размеры
Прочие характеристики
Подшипник шариковый радиальный однорядный 1000944
Подшипник шариковый радиальный 1000944 АЛ (ГПЗ-23)
Подшипник шариковый радиальный однорядный 1000944 Л
Подшипник шариковый радиальный 2В0-1000944 Л (ГПЗ-1)
Подшипник шариковый радиальный 6-1000944 Л (ГПЗ-1)
Подшипник шариковый радиальный 8-1000944 Л (ГПЗ-1)