Главная > Подшипники> Шариковые> Радиально-упорные>3813-B-2RSR-TVH

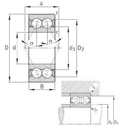
3813-B-2RSR-TVH — Радиально-упорный шарикоподшипник, импортное производство по ISO стандарту, размер 65x85x15 номер основного исполнения 3813.
Производитель: FAG.
2RSR = Резиновые уплотнения с каждой стороны подшипника.
Цена по запросу
Цена на подшипник зависит от:
| Обозначение | Модификация |
|---|---|
| 3813-B-2Z-TVH | 2Z = Металлические шайбы с каждой стороны подшипника. |
Габаритные размеры
Размеры и геометрические характеристики
Нагрузка и ресурс
Защита
Присоединительные размеры
Конструкция и исполнение