Главная > Подшипники> Роликовые > Радиально-упорные>Z-568331.TR1P

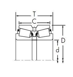
Z-568331.TR1P — Конический роликоподшипник, импортное производство по ISO стандарту, размер 31x76x25 номер основного исполнения .
Производитель: FAG.
P = Литой сепаратор из стеклонаполненного полиамида 6,6, центрируемый по телам качения.
Цена по запросу
Цена на подшипник зависит от:
Габаритные размеры
Размеры и геометрические характеристики
Защита
Конструкция и исполнение