Главная > Подшипники> Роликовые > Радиально-упорные>TR609021HLa

TR609021HLa — Подшипник роликовый радиально-упорный, импортное производство по ISO стандарту, размер 60x90x21 номер основного исполнения .
Производитель: KBC.
LA = массивный сепаратор из лёгкого сплава, центрирование по наружному кольцу.
Цена по запросу
Цена на подшипник зависит от:
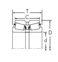
Габаритные размеры
Размеры и геометрические характеристики
Защита
Конструкция и исполнение