Главная > Подшипники> Роликовые > Радиально-упорные>TR408030

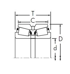
TR408030 — Подшипник роликовый радиально-упорный, импортное производство по ISO стандарту, размер 40x80x30 основное исполнение.
Производитель: KBC.
Цена по запросу
Цена на подшипник зависит от:
Габаритные размеры
Размеры и геометрические характеристики
Защита
Конструкция и исполнение
Подшипник шариковый двухрядный радиально-упорный 3208 (CRAFT, CX, CYSD, ISO, KOYO)
Подшипник для корпуса YET 208 (SKF)
Подшипник шариковый радиальный однорядный с односторонним уплотнением 3160208
Подшипник шариковый радиальный однорядный с двухсторонним уплотнением 3180208
Подшипник шариковый двухрядный радиально-упорный 3208 BTNG (SKF)
Подшипник шариковый двухрядный радиально-упорный 3208 BTNGC3 (SKF)