Главная > Подшипники> Роликовые > Радиально-упорные>TR358023

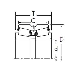
TR358023 — Подшипник роликовый радиально-упорный, импортное производство по ISO стандарту, размер 35x80x22 основное исполнение.
Производитель: KBC.
Цена по запросу
Цена на подшипник зависит от:
Габаритные размеры
Размеры и геометрические характеристики
Защита
Конструкция и исполнение
Однорядный конический роликовый подшипник 30307 (CRAFT, CYSD, FBJ, ISB, ISO)
Однорядный конический роликовый подшипник 31307 (CYSD, FAG, FBJ, ISB, ISO)
Подшипник роликовый радиально-упорный конический 5-7307 (ГПЗ-1)
Подшипник роликовый радиально-упорный конический 6-7307 (ГПЗ-1)
Подшипник роликовый радиально-упорный 6-7307 К1 (ГПЗ-1)