Главная > Подшипники> Роликовые > Радиально-упорные>ST2857-N

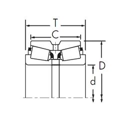
ST2857-N — Подшипник роликовый радиально-упорный, импортное производство по ISO стандарту, размер 28x57x17 номер основного исполнения .
Производитель: KOYO.
N = Канавка под стопорное кольцо в наружном кольце
Цена по запросу
Цена на подшипник зависит от:
Габаритные размеры
Размеры и геометрические характеристики
Защита
Конструкция и исполнение
Подшипник роликовый радиально-упорный J15585/J15520
Однорядный конический роликовый подшипник 15590/15520 (AST, CX, FBJ, ISO, KOYO)
Конический роликоподшипник 15590/15520B (TIMKEN)
Конический роликоподшипник 4T-15590/15520 (NTN)
Однорядный конический роликовый подшипник 639297/Q (SKF)
Однорядный конический роликовый подшипник HI-CAP ST2857LFTSH3 (KOYO)