Главная > Подшипники> Роликовые > Радиально-упорные>R35-67

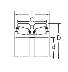
R35-67 — Конический роликоподшипник, импортное производство по ISO стандарту, размер 35x66x23 номер основного исполнения .
Производитель: NSK.
Цена по запросу
Цена на подшипник зависит от:
Габаритные размеры
Размеры и геометрические характеристики
Защита
Конструкция и исполнение