Главная > Подшипники> Шариковые> Радиально-упорные>QJM 5E

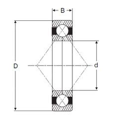
QJM 5E — Радиально-упорный шарикоподшипник с четырехточечным контактом, импортное производство по ISO стандарту, размер 127x254x50 номер основного исполнения .
Производитель: SIGMA.
Е = Увеличенная грузоподъемность.
Цена по запросу
Цена на подшипник зависит от:
Габаритные размеры
Размеры и геометрические характеристики
Защита
Конструкция и исполнение
Самоустанавливающийся шарикоподшипник NMJ5 (RHP)
Самоустанавливающийся шарикоподшипник NMJ 5E (SIGMA)
Цилиндрический роликоподшипник MMRJ5 (RHP)
Однорядный цилиндрический роликовый подшипник MRJ 5 (NIS, RHP, SIGMA)
Подшипник шариковый однорядный радиально-упорный MJT 5 (RHP, SIGMA)
Роликовый цилиндрический упорный подшипник 50TP121 (TIMKEN)