Главная > Подшипники> Шариковые> Радиально-упорные>QJM 1.3/8

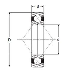
QJM 1.3/8 — Подшипник шариковый с четырехточечным контактом, импортное производство по ISO стандарту, размер 34x88x22 номер основного исполнения .
Производится брендами: RHP, SIGMA.
Цена по запросу
Цена на подшипник зависит от:
Габаритные размеры
Размеры и геометрические характеристики
Нагрузка и ресурс
Защита
Конструкция и исполнение
Подшипник шариковый двухрядный самоустанавливающийся NMJ 1.3/8 (RHP, SIGMA)
Однорядный цилиндрический роликовый подшипник MMRJ1.3/8 (RHP)
Однорядный цилиндрический роликовый подшипник MRJ 1.3/8 (NIS, RHP, SIGMA)
Подшипник шариковый однорядный радиально-упорный MJT 1.3/8 (NIS, RHP, SIGMA)
Подшипник однорядный шариковый радиальный RMS11 ZZ (NIS)
Подшипник однорядный шариковый радиальный RMS11 2RS (NIS)