Главная > Подшипники> Роликовые > Радиально-упорные>NP988748/NP247732

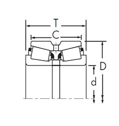
NP988748/NP247732 — Конический роликоподшипник, импортное производство по ISO стандарту, размер 57x52x26 номер основного исполнения .
Производитель: TIMKEN.
N = Канавка под стопорное кольцо в наружном кольце. P = Литой сепаратор из стеклонаполненного полиамида 6,6, центрируемый по телам качения.
Цена по запросу
Цена на подшипник зависит от:
Габаритные размеры
Защита
Конструкция и исполнение