Главная > Подшипники> Роликовые > Радиально-упорные>NP965020/NP715448

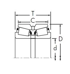
NP965020/NP715448 — Конический роликоподшипник, импортное производство по ISO стандарту, размер 170x254x46 номер основного исполнения .
Производитель: TIMKEN.
N = Канавка под стопорное кольцо в наружном кольце. P = Литой сепаратор из стеклонаполненного полиамида 6,6, центрируемый по телам качения.
Цена по запросу
Цена на подшипник зависит от:
Габаритные размеры
Размеры и геометрические характеристики
Защита
Конструкция и исполнение
Однорядный конический роликовый подшипник 86669/86100 (CX, ISO, KOYO, NSK, TIMKEN)
Однорядный конический роликовый подшипник M235149/M235113 (KOYO, NSK, TIMKEN)
Подшипник роликовый радиально-упорный 186170/186254XC (Gamet)
Подшипник роликовый радиально-упорный 186170/186254X (Gamet)
Конический роликоподшипник 86669/86100B (TIMKEN)