Главная > Подшипники> Роликовые > Радиально-упорные>NP957403/NP120839

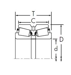
NP957403/NP120839 — Конический роликоподшипник, импортное производство по ISO стандарту, размер 60x107x18 номер основного исполнения .
Производитель: TIMKEN.
N = Канавка под стопорное кольцо в наружном кольце. P = Литой сепаратор из стеклонаполненного полиамида 6,6, центрируемый по телам качения.
Цена от:3 485 р.
Цена на подшипник зависит от:
Габаритные размеры
Размеры и геометрические характеристики
Защита
Конструкция и исполнение