Главная > Подшипники> Роликовые > Радиально-упорные>NP951065/NP603591

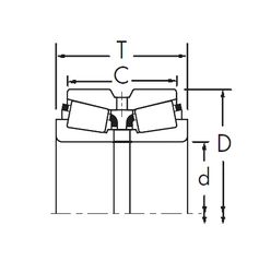
NP951065/NP603591 — Конический роликоподшипник, импортное производство по ISO стандарту, размер 31x73x29 номер основного исполнения .
Производитель: TIMKEN.
N = Канавка под стопорное кольцо в наружном кольце. P = Литой сепаратор из стеклонаполненного полиамида 6,6, центрируемый по телам качения.
Цена по запросу
Цена на подшипник зависит от:
Габаритные размеры
Размеры и геометрические характеристики
Защита
Конструкция и исполнение
Радиально-упорный шарикоподшипник 712179600 (INA)
Радиально-упорный шарикоподшипник F-234975.04 (FAG)
Конический роликоподшипник 4T-HM88542/HM88510 (NTN)
Конический роликоподшипник 4T-HM88542/HM88512 (NTN)
Конический роликоподшипник EC44243S01 (SNR)
Однорядный конический роликовый подшипник HM88542/HM88512 (FBJ, KOYO, TIMKEN)