Главная > Подшипники> Роликовые > Радиально-упорные>NP928058/NP908060

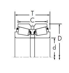
NP928058/NP908060 — Конический роликоподшипник, импортное производство по ISO стандарту, размер 100x150x32 номер основного исполнения .
Производитель: TIMKEN.
N = Канавка под стопорное кольцо в наружном кольце. P = Литой сепаратор из стеклонаполненного полиамида 6,6, центрируемый по телам качения.
Цена по запросу
Цена на подшипник зависит от:
Габаритные размеры
Размеры и геометрические характеристики
Защита
Конструкция и исполнение
Однорядный конический роликовый подшипник 32020 (CRAFT, CYSD, FBJ, Gamet, ISB)
Однорядный конический роликовый подшипник 32020XJ (SKF)
Подшипник роликовый радиально-упорный 2007120 А
Подшипник роликовый радиально-упорный 2007120 (32020X)
Подшипник роликовый радиально-упорный 2007120A (EPK)