Главная > Подшипники> Роликовые > Радиально-упорные>NP909358/NP282407

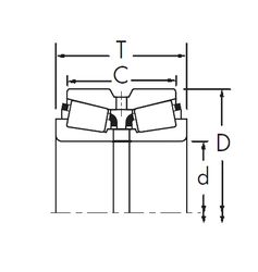
NP909358/NP282407 — Конический роликоподшипник, импортное производство по ISO стандарту, размер 40x80x21 номер основного исполнения .
Производитель: TIMKEN.
N = Канавка под стопорное кольцо в наружном кольце. P = Литой сепаратор из стеклонаполненного полиамида 6,6, центрируемый по телам качения.
Цена от:3 683 р.
Цена на подшипник зависит от:
Габаритные размеры
Размеры и геометрические характеристики
Защита
Конструкция и исполнение
Подшипник шариковый радиальный 480208.UC БЕЗ КОРПУСА
Подшипник шариковый радиальный 480208 НУС 17
Подшипник шариковый радиальный 480208.UCF В КОРПУСЕ
Подшипник шариковый радиальный 890208 С17 (ГПЗ-8)
Радиальный шарикоподшипник 804662E (FAG)
Радиальный шарикоподшипник CUC208 (SNR)