Главная > Подшипники> Роликовые > Радиально-упорные>NP861151/NP666842

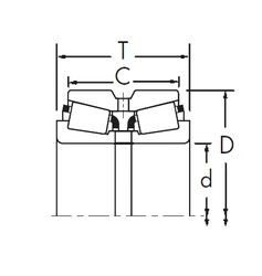
NP861151/NP666842 — Конический роликоподшипник, импортное производство по ISO стандарту, размер 38x68x19 номер основного исполнения .
Производитель: TIMKEN.
N = Канавка под стопорное кольцо в наружном кольце. P = Литой сепаратор из стеклонаполненного полиамида 6,6, центрируемый по телам качения.
Цена по запросу
Цена на подшипник зависит от:
Габаритные размеры
Размеры и геометрические характеристики
Защита
Конструкция и исполнение
Подшипник роликовый радиально-упорный У-20071/38 А (ГПЗ-15)
Однорядный конический роликовый подшипник 19150/19269 (TIMKEN)