Главная > Подшипники> Роликовые > Радиально-упорные>NP838887/NP437479

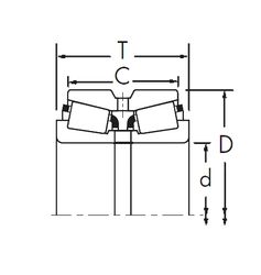
NP838887/NP437479 — Конический роликоподшипник, импортное производство по ISO стандарту, размер 50x80x20 номер основного исполнения .
Производитель: TIMKEN.
P42 = Класс точности Р4 и радиальная очистка С2.
Цена от:1 666 р.
Цена на подшипник зависит от:
Габаритные размеры
Размеры и геометрические характеристики
Защита
Конструкция и исполнение
Однорядный конический роликовый подшипник 32010 (CRAFT, CYSD, FAG, FBJ, ISB)
Однорядный конический роликовый подшипник 32010X (FAG, NIS, NKE, NTN, PFI)
Подшипник роликовый радиальный с короткими цилиндрическими роликами без наружного кольца 502210 КМ (ГПЗ-3)
Подшипник роликовый радиально-упорный конический однорядный повышенной грузоподъемности 2007110 А
Подшипник роликовый радиально-упорный конический однорядный 2007110