Главная > Подшипники> Роликовые > Радиально-упорные>NP811212/NP737620

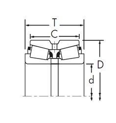
NP811212/NP737620 — Однорядный конический роликовый подшипник, импортное производство по ISO стандарту, размер 40x68x19 номер основного исполнения .
Производитель: TIMKEN.
N = Канавка под стопорное кольцо в наружном кольце. P = Литой сепаратор из стеклонаполненного полиамида 6,6, центрируемый по телам качения.
Цена от:1 389 р.
Цена на подшипник зависит от:
Габаритные размеры
Размеры и геометрические характеристики
Защита
Конструкция и исполнение
Подшипник шариковый упорный однонаправленный 51208 (AST, CRAFT, CX, FAG, FBJ)
Роликовый цилиндрический упорный подшипник 81208 (CX, INA, ISO, NIS, NTN)
Однорядный конический роликовый подшипник 32008 (CRAFT, CYSD, FBJ, ISB, ISO)
Подшипник роликовый радиально-упорный конический однорядный повышенной грузоподъемности 2007108 А
Подшипник роликовый радиально-упорный 2007108A (EPK)