Главная > Подшипники> Роликовые > Радиально-упорные>NP811212-90KA1

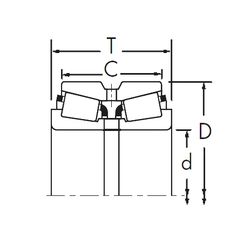
NP811212-90KA1 — Однорядный конический роликовый подшипник, импортное производство по ISO стандарту, размер 40x68x19 номер основного исполнения .
Производитель: TIMKEN.
A1 = Конический роликовый подшипник однорядный
Цена от:1 389 р.
Цена на подшипник зависит от:
Габаритные размеры
Размеры и геометрические характеристики
Защита
Конструкция и исполнение
Подшипник шариковый упорный однонаправленный 51208 (AST, CRAFT, CX, FAG, FBJ)
Роликовый цилиндрический упорный подшипник 81208 (CX, INA, ISO, NIS, NTN)
Однорядный конический роликовый подшипник 32008 (CRAFT, CYSD, FBJ, ISB, ISO)
Подшипник роликовый радиально-упорный конический однорядный повышенной грузоподъемности 2007108 А
Подшипник роликовый радиально-упорный 2007108A (EPK)