Главная > Подшипники> Роликовые > Радиально-упорные>NP797735/NP430273

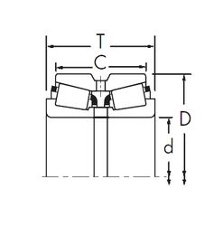
NP797735/NP430273 — Однорядный конический роликовый подшипник, импортное производство по ISO стандарту, размер 28x55x14 номер основного исполнения .
Производитель: TIMKEN.
P42 = Класс точности Р4 и радиальная очистка С2.
Цена от:1 290 р.
Цена на подшипник зависит от:
Габаритные размеры
Размеры и геометрические характеристики
Защита
Конструкция и исполнение
Однорядный конический роликовый подшипник EC42193YS02H206 (SNR)
Однорядный конический роликовый подшипник NP797735-99401 (TIMKEN)