Главная > Подшипники> Роликовые > Радиально-упорные>NP765903/NP919474

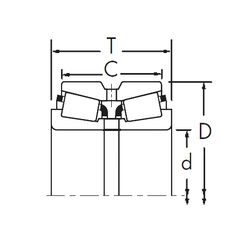
NP765903/NP919474 — Однорядный конический роликовый подшипник, импортное производство по ISO стандарту, размер 30x55x17 номер основного исполнения .
Производитель: TIMKEN.
N = Канавка под стопорное кольцо в наружном кольце. P = Литой сепаратор из стеклонаполненного полиамида 6,6, центрируемый по телам качения.
Цена от:2 084 р.
Цена на подшипник зависит от:
Габаритные размеры
Размеры и геометрические характеристики
Защита
Конструкция и исполнение
Однорядный конический роликовый подшипник 32006 (CRAFT, CYSD, FBJ, ISB, ISO)
Однорядный конический роликовый подшипник 32006 X (FAG, NIS, NKE, NTN, PFI)
Подшипник шариковый радиальный 360106 КС23
Подшипник роликовый радиально-упорный конический однорядный повышенной грузоподъемности 2007106 А
Подшипник роликовый радиально-упорный 2007106A (EPK)
Подшипник роликовый радиально-упорный конический однорядный 2007106 (32006X)