Главная > Подшипники> Роликовые > Радиально-упорные>NP761271/NP998236

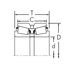
NP761271/NP998236 — Конический роликоподшипник, импортное производство по ISO стандарту, размер 49x104x33 номер основного исполнения .
Производитель: TIMKEN.
N = Канавка под стопорное кольцо в наружном кольце. P = Литой сепаратор из стеклонаполненного полиамида 6,6, центрируемый по телам качения.
Цена по запросу
Цена на подшипник зависит от:
Габаритные размеры
Размеры и геометрические характеристики
Защита
Конструкция и исполнение