Главная > Подшипники> Роликовые > Радиально-упорные>NP715284/NP106970

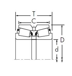
NP715284/NP106970 — Конический роликоподшипник, импортное производство по ISO стандарту, размер 50x80x20 номер основного исполнения .
Производитель: TIMKEN.
N = Канавка под стопорное кольцо в наружном кольце. P = Литой сепаратор из стеклонаполненного полиамида 6,6, центрируемый по телам качения.
Цена по запросу
Цена на подшипник зависит от:
Габаритные размеры
Размеры и геометрические характеристики
Защита
Конструкция и исполнение
Однорядный конический роликовый подшипник 32010 (CRAFT, CYSD, FAG, FBJ, ISB)
Однорядный конический роликовый подшипник 32010X (FAG, NIS, NKE, NTN, PFI)
Подшипник роликовый радиальный с короткими цилиндрическими роликами без наружного кольца 502210 КМ (ГПЗ-3)
Подшипник роликовый радиально-упорный конический однорядный повышенной грузоподъемности 2007110 А
Подшипник роликовый радиально-упорный конический однорядный 2007110