Главная > Подшипники> Роликовые > Радиально-упорные>NP691264/NP225898

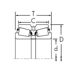
NP691264/NP225898 — Конический роликоподшипник, импортное производство по ISO стандарту, размер 65x100x22 номер основного исполнения .
Производитель: TIMKEN.
N = Канавка под стопорное кольцо в наружном кольце. P = Литой сепаратор из стеклонаполненного полиамида 6,6, центрируемый по телам качения.
Цена по запросу
Цена на подшипник зависит от:
Габаритные размеры
Размеры и геометрические характеристики
Защита
Конструкция и исполнение
Подшипник для корпуса GE65 KPPB-3 (INA)
Подшипник шариковый упорно-радиальный 178813Л2 (EPK)
Подшипник шариковый упорно-радиальный двухрядный 178813
Осевой радиально-упорный шарикоподшипник 562013 (NTN)
Радиально-упорный шарикоподшипник 65BER20SV1V (NSK)
Радиально-упорный шарикоподшипник 65BNR20SV1V (NSK)