Главная > Подшипники> Роликовые > Радиально-упорные>NP688738/NP436465

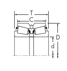
NP688738/NP436465 — Конический роликоподшипник, импортное производство по ISO стандарту, размер 42x76x17 номер основного исполнения .
Производитель: TIMKEN.
P42 = Класс точности Р4 и радиальная очистка С2.
Цена по запросу
Цена на подшипник зависит от:
Габаритные размеры
Размеры и геометрические характеристики
Защита
Конструкция и исполнение