Главная > Подшипники> Роликовые > Радиально-упорные>NP683345/NP119178

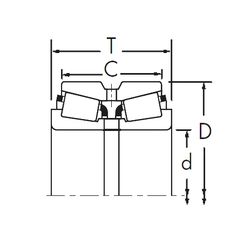
NP683345/NP119178 — Однорядный конический роликовый подшипник, импортное производство по ISO стандарту, размер 44x88x25 номер основного исполнения .
Производитель: TIMKEN.
N = Канавка под стопорное кольцо в наружном кольце. P = Литой сепаратор из стеклонаполненного полиамида 6,6, центрируемый по телам качения.
Цена от:3 483 р.
Цена на подшипник зависит от:
Габаритные размеры
Размеры и геометрические характеристики
Защита
Конструкция и исполнение