Главная > Подшипники> Роликовые > Радиально-упорные>NP673791/NP153717

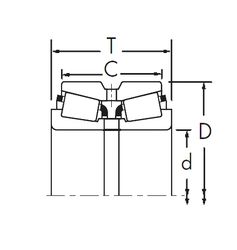
NP673791/NP153717 — Конический роликоподшипник, импортное производство по ISO стандарту, размер 15x42x14 номер основного исполнения .
Производитель: TIMKEN.
N = Канавка под стопорное кольцо в наружном кольце. P = Литой сепаратор из стеклонаполненного полиамида 6,6, центрируемый по телам качения.
Цена от:2 516 р.
Цена на подшипник зависит от:
Габаритные размеры
Размеры и геометрические характеристики
Защита
Конструкция и исполнение
Однорядный конический роликовый подшипник 30302 (CRAFT, CYSD, FAG, FBJ, ISB)
Однорядный конический роликовый подшипник 30302 J2 (FAG, SKF)
Однорядный конический роликовый подшипник 11590/11520 (AST, CX, FBJ, Fersa, ISO)
Конический роликоподшипник 11590/20 (PFI)
Однорядный конический роликовый подшипник 30302-A (CX, FAG)
Подшипник роликовый радиально-упорный 30302JR (KOYO)